Gristmill What’s It

2025

What’s Its From the December 2025 Issue 

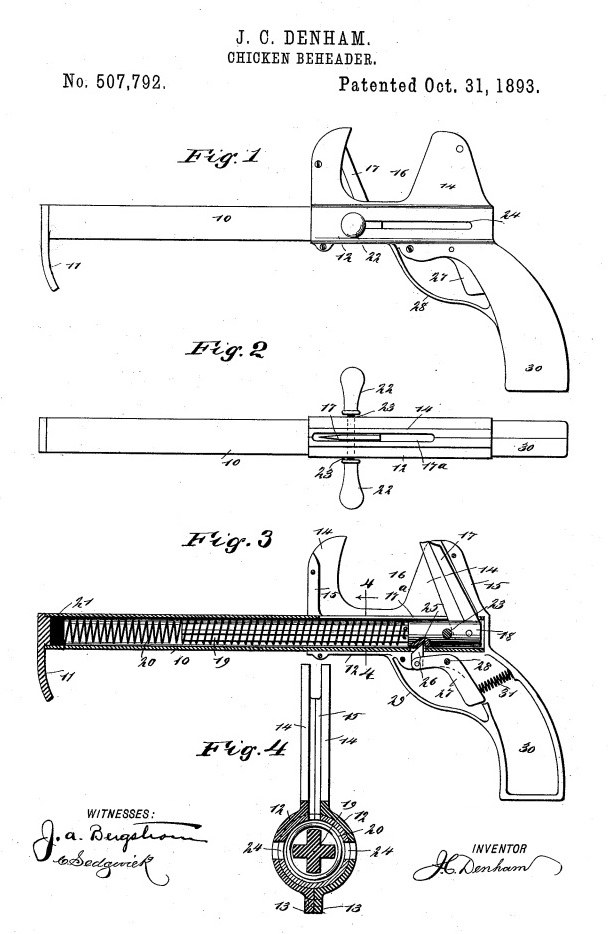
201-1  This is a chicken beheader. There is a sharp blade concealed by the large part at the top right, a plunger is inserted in the small hole at the end of the barrel to set the spring which is attached to the blade. 
To read more details about how it works, see patent number 507,792

201-2  This is a tally stick from Finland, it was used many years ago
to confirm that a worker had completed a day’s unpaid labor. One half
of the stick was held by the master of the house or the foreman, and
the other half by the farmhand or tenant farmer. When the day’s work
was done, these wooden sticks were placed against each other, and the
foreman would carve a notch with a knife simultaneously into both his
own and the worker’s stick. Each farmhand carefully guarded these
sticks, keeping them safely stored so that at the end of the month or
upon completion of the contract work, everyone would receive their
daily wages according to the notches made in them.

201-3 A wire twister for use when making fences, patent number 1,835,204.

201-4  This was marked “primitive wool stretcher,” but others have suggested it could be an apple picker that has had its long handle cut off, or a carpet weaving tool as seen here:

What’s Its From the September 2025 Issue 

200-1  This is a carriage door key for a train or horse drawn carriage.

 

200-2 These are snow goggles for use by European soldiers in the mountains to prevent snow blindness.

200-3 A watch crystal gauge, used for finding the diameter and depth, patent number 412,631 https://patents.google.com/patent/US412631

200-4 A lightning rod that was made to be attached to the top of a building

What’s Its From the June 2025 Issue

199-1 This is a sweep rake, similar to patent number 2,466,878

https://patents.google.com/patent/US2466878

199-2  Pedal pin removers, for use on bicycles

199-3  A metal worker’s grooving stake, it is a specialized anvil-like tool used in sheet metal work to shape, form, or create grooves and seams in metal.

199-4 These are lineman’s climbing irons, patent number 1,632,688

https://patents.google.com/patent/US1632688

What’s Its From the March 2025 Issue

198-1  This tool is a carriage maker’s plow plane or coach maker’s plow, for making grooves in wood.  

198-2  This item is a toothbrush holder from Europe.

198-3  No answer yet for this item.

198-4 This is a vintage all-iron rabbet plane by R. Hoe & Co., Inc. number P257-1. It was designed to cut rabbets, which are rectangular recesses or grooves along the edge of a piece of wood. R. Hoe & Co. was a New York City based printing press manufacturer.

Sources: